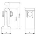
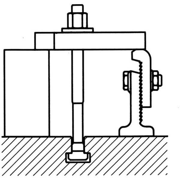
Gezahnte Spannunterlagen

Artikel-Nr.: 73387
Preis pro 1 Stück
Individuelle Preisanzeige für Geschäftskunden nach Anmeldung.
auf Anfrage
Voraussichtliche Lieferzeit: 2-3 Wochen
0 Stück sofort lieferbar

Variante und Stückzahl wählen

Stückpreis inkl. MwSt.

Verfügbarkeit

Bitte beachten Sie die Lieferzeit und eingeschränkte Beratung:
Diesen Artikel bestellen wir für Sie direkt beim Hersteller, da er nicht Bestandteil unseres Hauptsortiments ist und somit nicht bei uns auf Lager liegt. Infos

Auf die Merkliste setzen

Dieses Produkt teilen

oder kopieren Sie diesen Link

Produktdetails

Identifikation & Klassifikation

Artikelnummer 73387
EAN / GTIN 4020772073381
Herstellernummer 73387
L-Nummer L30130 731
Hersteller/verantwortliche Person Andreas Maier GmbH & Co. KG, Waiblinger Straße 116, 70734 FELLBACH, Deutschland, www.amf.de

Beschreibung

Beschreibung:

Gezahnte Spannunterlagen, (Zahnböcke). Stufenhöhe: 5,2 mm. Temperguss, lackiert. Standfläche plangefräst.

Merkmal:

  • Größe: 3
  • H min.: 155 mm
  • H max.: 223 mm
  • A: 60
  • B: 60
  • F max.: 60 kN
  • Gewicht: 2607 g

Services & Produktberater

Login

Ihre Ansprechperson

Kommission festlegen

Ihre Kundenkarte

Bitte weisen Sie den QR-Code an der Kasse vor.
Abgerufen am 

Im Warenkorb

Zum Warenkorb
Zum Warenkorb